Мы используем cookie для наилучшего представления нашего сайта. Подробнее об этом в Политике конфиденциальности.
Ок

Тверь

Ваш город:
Тверь (Тверская область)?
Нет
Да
Каталог
Каталог Написать в WhatsApp
Мотоэкипировка

Топливный насос в сборе 2-Х ТАКТНОГО ПЛМ MERCURY 55 Серийный номер от 0G290585 до 0G589999

Топливный насос в сборе 2-Х ТАКТНОГО ПЛМ MERCURY 55 Серийный номер от 0G290585 до 0G589999 в Москве: актуальный каталог, цены, фото, описание. Купите топливный насос в сборе 2-х тактного плм mercury 55 серийный номер от 0g290585 до 0g589999 в кредит – оформите заявку онлайн за 1 минуту!

Оригинальные запчасти

Артикул НАИМЕНОВАНИЕ Кол-во деталей в узле Примечание Наличие Цена Аналоги Фото
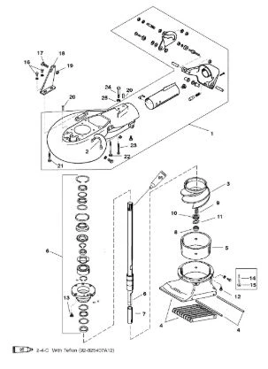
1 856143A6 JET PUMP ASSEMBLY

Под заказ

1

Под заказ

уточнить

Купить
2 801411T60 HOUSING PUMP

Под заказ

1

Под заказ

уточнить

Купить
3 855767T60 HOUSING, Pump

Под заказ

1

Под заказ

уточнить

Купить
4 827490 Шланг шприцевания водомета (HOSE-LUBE)

Под заказ

1

Под заказ

уточнить

Купить
5 855708T60 Импеллер водомета (IMPELLER)

Под заказ

1

Под заказ

уточнить

Купить
6 80141260 HOUSING, Intake

Под заказ

1

Под заказ

уточнить

Купить
7 8271882 Кольцо импеллера (LINER)

Под заказ

1

Под заказ

уточнить

Купить
8 80141360 DRIVESHAFT

Под заказ

1

Под заказ

уточнить

Купить
9 85576960 Приводной вал Jet 40 2-х такт (DRIVESHAFT)

Под заказ

1

Под заказ

уточнить

Купить
10 8271891 Втулка (SLEEVE)

Под заказ

1

Под заказ

уточнить

Купить
11 8271901 Гайка (NUT)

Под заказ

1

Под заказ

уточнить

Купить
12 801405875 Шпонка (KEY)

Под заказ

1

Под заказ

уточнить

Купить
13 801404875 Шайба импеллера (SHIM)

Под заказ

8

Под заказ

уточнить

Купить
14 801403875 Фиксатор гайки (WASHER-TAB)

Под заказ

1

Под заказ

уточнить

Купить
15 848497 Болт (SCREW 0.312-18 X 1)

Под заказ

4

Под заказ

уточнить

Купить
16 855840 STUD (.312 X 18 X 1.81)

Под заказ

6

Под заказ

уточнить

Купить
17 82670910 Гайга самоконтр. (NUT, (.312-18) Stainless Steel)

Под заказ

6

Под заказ

уточнить

Купить
18 19923062 SCREW (1/4-20 X .625)

Под заказ

2

Под заказ

уточнить

Купить
19 60411 SCREW (.312-18 X 1.25)

Под заказ

1

Под заказ

уточнить

Купить
20 801410 BRACKET-CABLE SUPPORT

Под заказ

1

Под заказ

уточнить

Купить
21 801407 PIN-DOWEL

Под заказ

2

Под заказ

уточнить

Купить
22 4010860 SCREW (M10 X 60)

Под заказ

2

Под заказ

уточнить

Купить
23 4010890 SCREW (M10 X 90)

Под заказ

1

Под заказ

уточнить

Купить
24 4010870 SCREW (M10 X 70)

Под заказ

1

Под заказ

уточнить

Купить
25 95802 Болт (SCREW)

Под заказ

1

Под заказ

уточнить

Купить
26 856774 Шайба (WASHER)

Под заказ

1

Под заказ

уточнить

Купить

Нулевая цена не означает отсутствие товара. Оформите заказ, и менеджер сообщит вам цену и наличие товара, предварительно запросив их у поставщика

Главная Магазины
Корзина0
Профиль